芯城品牌采购网 > 品牌资讯 > 元器件百科 > 光电三极管

光电三极管

芯城品牌采购网

25894

光电三极管特性

1)伏安特性

光电三极管在偏置电压为零时,无论光照度有多强,集电极电流都为零。偏置电压要保证光电三极管的发射结处于正向偏置,而集电结处于反向偏置。随着偏置电压的增高伏安特性曲线趋于平坦。

光电三极管的伏安特性曲线向上偏斜,间距增大。这是因为光电三极管除具有光电灵敏度外,还具有电流增益β,并且,β值随光电流的增大而增大。

2)时间响应(频率特性)

光电三极管的时间响应常与PN结的结构及偏置电路等参数有关。

光电三极管的时间响应由以下四部分组成:

① 光生载流子对发射结电容Cbe和集电结电容Cbc的充放电时间;② 光生载流子渡越基区所需要的时间;

③ 光生载流子被收集到集电极的时间;

④ 输出电路的等效负载电阻RL与等效电容Cce所构成的RC时间;

总时间常数为上述四项和。比光电二极管的时间响应长。

3)温度特性

光电二极管和硅光电三极管的暗电流Id和光电流IL均随温度而变化,由于硅光电三极管具有电流放大功能,所以硅光电三极管的暗电流Id和亮电流IL受温度的影响要比硅光电二极管大得多。

4)光谱响应

光电二极管与光电三极管具有相同的光谱响应。

它的响应范围为0.4~1.1μm,峰值波长为0.85μm。

光电三极管结构

光电三极管有两种基本结构,NPN结构与PNP结构。

用N型硅材料为衬底制作的 NPN结构,称为 3DU型;

用P型硅材料为衬底制作的称为PNP结构,称为3CU型。

结构.jpg

光电三极管种类选择

由外观上, 可以区分为罐封闭型与树脂封入型, 而各型又可分别分为附有透镜之型式 及单纯附有窗口之型式.就半导体晶方 言之,材料有硅(Si)与锗(Ge),大部份为硅.在晶方构造方面,可分为普通晶体管型与达林顿 晶体管型.再从用途加以分类时,可以分为以交换动作为目的之光敏三极管与需要直线性之光 敏三极管,但光敏三极管的主流为交换组件,需要直线性时,通常使用光二极管.

在实际选用光敏三极管时,应注意按参数要求选择管型.如要求灵敏度高,可选用达林顿型光 敏三极管;如要求响应时间快,对温度敏感性小,就不选用光敏三极管而选用光敏二极管.探 测暗光一定要选择暗电流小的管子,同时可考虑有基极引出线的光敏三极管,通过偏置取得合 适的工作点,提高光电流的放大系数.例如,探测10-3勒克斯的弱光,光敏三极管的暗电流必 须小于0.1nA。

光电三极管典型应用电路

1.亮通光电控制电路

当有光线照射于光电器件上时,使继电器有足够的电流而动作,这种电路称为亮通光电控制电路,也叫明通控制电路。最简单的亮通电路如图所示。

1.jpg

2.暗通光电控制电路

如果光电继电器不受光照时能使继电器动作,而受光照时继电器释放,则称它为暗通控制电路。

2.jpg

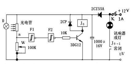
3. 印刷机纸张监控器

印刷机纸张监控器可以自动监测每次印刷的纸张是否为一张,如果不是一张则发出报警讯响,停止印刷,待整理好纸张后,再开始工作。

3.jpg


免责声明:
文章内容转自互联网,不代表本站赞同其观点;
如涉及内容、图片、版权等问题,请联系2644303206@qq.com我们将在第一时间删除内容!